進口蝸輪蝶閥特點:
1.小型輕便,容易拆裝及維修,并可在任意位置安裝。
2.結構簡單,緊湊,90度回轉開啟迅速。
3.操作扭拒小,省力輕巧。
4.流量特征超于直線,調節性能好。
5.開啟試驗次數多達數萬次,壽命長。
6.達到完全密封,氣體式樣泄漏為零。
7.更換零件材料簡易,可適用多種介質。
進口蝸輪蝶閥主要技術參數
|
公稱通經DN(mm) |
50~1200 |
50~1200 |
|
|
公稱壓力PN(MPa) |
0.6 |
1.0 |
1.6 |
|
密封試驗(MPa) |
0.66 |
1.1 |
1.76 |
|
強度試驗(MPa) |
0.9 |
1.5 |
2.4 |
|
適用溫度 |
丁腈橡膠:-40℃~90℃氟橡膠:-20℃~200℃ |
||
|
適用介質 |
水、空氣、天然氣、油品及弱腐蝕性流體 |
||
|
驅動方式 |
蝸輪傳動、電動、氣動、液動 |
||
進口蝸輪蝶閥主要零部件材料
|
零件名稱 |
材料 |
|
閥體 |
WCB、QT450-10、HT200、HT250 |
|
蝶板 |
WCB、QT450-10、HT200、HT250 |
|
閥軸 |
2Cr13 |
|
密封圈 |
丁腈耐油橡膠 |
|
填料 |
柔性石墨 |
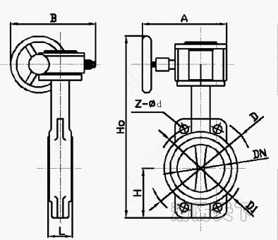
進口蝸輪蝶閥結構圖:

進口蝸輪蝶閥主要外形連接尺寸單位:mm
|
通徑 |
尺寸 Size(mm) |
||||||||||||
|
L |
LO |
D |
D1 |
DO |
n-dO |
H1 |
H2 |
E |
F |
||||
|
mm |
inch |
PN10 |
PN16 |
PN10 |
PN16 |
||||||||
|
50 |
2" |
43 |
170 |
125 |
86 |
160 |
4-18 |
70 |
159 |
50 |
45 |
||
|
65 |
2-1/2" |
46 |
170 |
145 |
102 |
160 |
4-18 |
77 |
168 |
50 |
45 |
||
|
80 |
3" |
46 |
170 |
160 |
117 |
160 |
4-18 |
8-18 |
84 |
175 |
50 |
45 |
|
|
100 |
4" |
52 |
170 |
180 |
138 |
160 |
8-18 |
106 |
195 |
50 |
45 |
||
|
125 |
5" |
56 |
170 |
210 |
166 |
160 |
8-18 |
118 |
210 |
50 |
45 |
||
|
150 |
6" |
56 |
170 |
240 |
192 |
160 |
8-22 |
135 |
225 |
50 |
45 |
||
|
200 |
8" |
60 |
260 |
295 |
243 |
280 |
8-22 |
12-22 |
170 |
265 |
70 |
70 |
|
|
250 |
10" |
68 |
260 |
350 |
355 |
303 |
280 |
12-22 |
12-26 |
204 |
267 |
70 |
70 |
|
300 |
12" |
78 |
260 |
400 |
410 |
355 |
280 |
12-22 |
12-26 |
235 |
335 |
70 |
70 |
|
350 |
14" |
78 |
275 |
460 |
470 |
400 |
280 |
16-22 |
16-26 |
270 |
397 |
122 |
106 |
|
400 |
16" |
102 |
275 |
515 |
525 |
455 |
320 |
16-26 |
16-30 |
300 |
435 |
122 |
106 |
|
450 |
18" |
114 |
275 |
565 |
586 |
500 |
320 |
20-26 |
20-30 |
344 |
485 |
122 |
106 |
|
500 |
20" |
127 |
275 |
620 |
650 |
561 |
320 |
20-26 |
23-33 |
366 |
515 |
165 |
157 |
|
600 |
24" |
154 |
310 |
725 |
770 |
660 |
280 |
20-30 |
20-36 |
430 |
620 |
165 |
157 |
|
700 |
28" |
165 |
398 |
840 |
840 |
753 |
370 |
24-30 |
24-36 |
480 |
670 |
165 |
157 |
|
800 |
32" |
190 |
398 |
950 |
950 |
880 |
370 |
24-33 |
24-39 |
525 |
805 |
800 |
150 |
|
900 |
36" |
203 |
410 |
1050 |
1050 |
977 |
370 |
28-33 |
29-39 |
585 |
915 |
800 |
150 |
|
1000 |
40" |
216 |
410 |
1160 |
1170 |
1077 |
420 |
28-36 |
28-42 |
640 |
995 |
800 |
150 |
|
1200 |
48" |
254 |
410 |
1380 |
1390 |
1177 |
420 |
32-39 |
32-48 |
755 |
1170 |
800 |
150 |


