|
公司基本資料信息
|
|||||||||||||||||||||||||||
產品介紹
耐高溫、高壓的疏水閥,間斷排水,結構堅固。適用于過熱蒸汽管網和高溫、高壓設備。
1.耐高溫,耐高壓,耐腐蝕,耐磨損。
2.工作負荷變化時也能連續排水,間斷排放,確保工藝所需溫度。
3.內置過濾網,確保無故障工作。
4.結構緊湊,堅固耐用,無需維護。
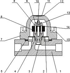
主要性能以及零部件

1 閥體:鑄鋼
2 過濾網:不銹鋼
3 閥芯:不銹鋼
4 閥座:合金鋼
5 閥蓋墊圈:不銹鋼
6 閥蓋:鑄鋼
7 雙金屬元件
8 擋板:不銹鋼
9 導向桿:不銹鋼
10 螺母:不銹鋼
11 鉚釘:不銹鋼
12 銘牌:不銹鋼
13 彈簧墊圈:不銹鋼
14 墊圈:不銹鋼
15 內六角螺栓:碳鋼